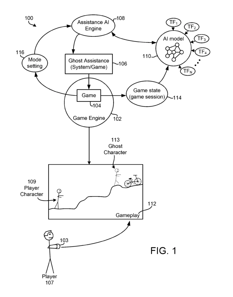
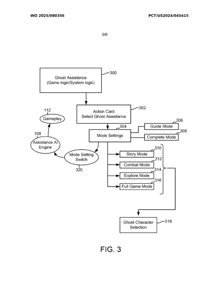
Η Sony κατοχύρωσε νέα τεχνολογία που επιτρέπει στα PlayStation games να παίζουν μόνα τους με βοήθεια από την ΑΙ, όταν οι παίκτες κολλάνε σε κάποιο σημείο. Το σύστημα «Ghost Player» καλεί ένα AI-generated «φάντασμα» του χαρακτήρα του παίκτη, που είτε δείχνει τη λύση σε μέρος επιπέδου (Guide Mode), είτε το ολοκληρώνει πλήρως (Complete Mode). Θα μπορείτε για παράδειγμα να αφήνετε την ΑΙ να καθοδηγεί τον Nathan Drake να λύνει ένα γρίφο στο Uncharted για να προχωρήσετε παρακάτω, αν έχετε κολλήσει.
Η πατέντα της Sony κατατέθηκε τον Σεπτέμβριο 2024 και δημοσιεύτηκε πρόσφατα από τον WIPO, με το AI να εκπαιδεύεται σε υπάρχον gameplay footage αντί για προ-εγγεγραμμένα inputs, ως εξέλιξη του PS5 Game Help που δίνει οδηγίες μέσω εικόνων ή βίντεο.


Παρόμοιες λειτουργίες βοήθειας υπάρχουν ήδη σε πολλά games με hints, skip ή ευκολότερη δυσκολία, αλλά τίτλοι όπως το God of War Ragnarok έχουν επικριθεί από κάποιους για τις υπερβολικές υποδείξεις.
Πηγή: http://www.enternity.gr/
(Κώστας Παπαζαχαρίου, αναδημοσίευση 9/1/2026)











Join the Conversation →